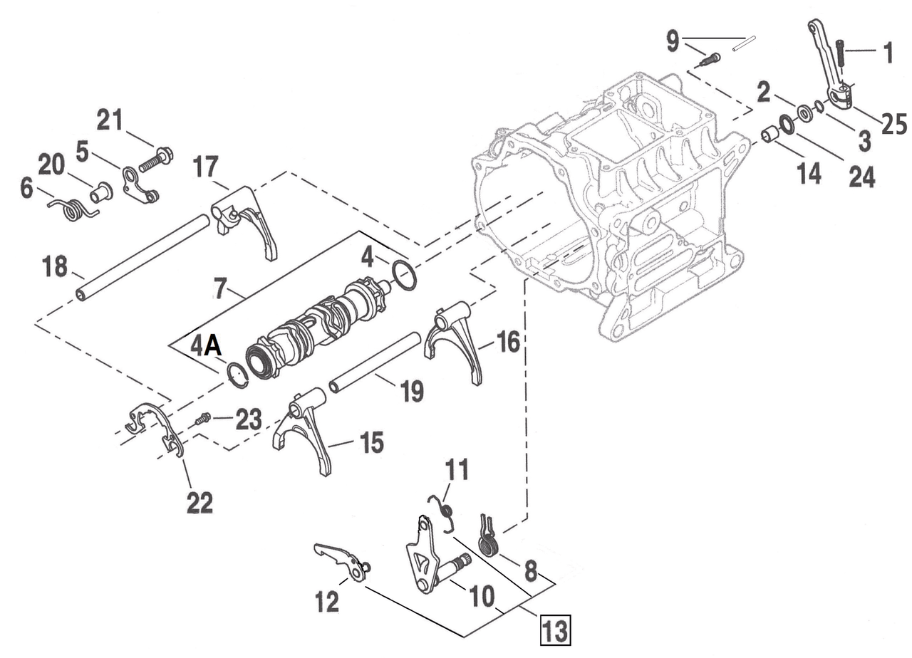
PARTI PER CAMBI A 6 MARCE DAL 2006 A OGGI
2,75 €
10pck Shift detent spring
Disponibile (ordinabile)
Assistenza Gratuita Sempre!
- Soddisfazione garantita
- Rimborso senza problemi
- Pagamenti sicuri
Descrizione
Tutte le parti dal meccanismo del cambio nella trasmissione a 6 marce introdotta sui modelli Dyna del 2006 e utilizzata dal 2007 in poi su tutti i modelli Dyna, Softail, Touring e Trike. Se non diversamente indicato, tutte le parti vengono vendute singolarmente. Quando è necessario più di un elemento, questo viene indicato tra parentesi, ad esempio (2).





